丽萨主机(lisahost),香港有线宽屏iCable双ISP原生住宅静态IP家宽VPS测评数据分享~

丽萨主机(lisahost)新上架香港有线宽屏iCable双ISP原生住宅静态IP VPS套餐,CPU E5-2682 v4 @ 2.50GHz,磁盘io当前测试 672.3 MB/s,上游AS9908 HK Cable TV Ltd,不支持IPv6,经测试IP多个数据库显示为双ISP,IP纯净,可看TVB,支持Cityline票务, 解锁香港本土服务和流媒体。具体的测评数据分享看下文:

丽萨主机:英国双ISP住宅原生IP VPS,466元/年(1核1G内存/10G NME/300Mbps@2T月流量)

 

 

1、官网

官方网站:https://lisahost.com/

 

2、香港有线宽屏iCable双ISP VPS套餐

香港有线宽屏iCable双ISP原生住宅静态IP,国际线路,高质量香港家宽纯净IP

9折优惠码 :TS-CBP205DQJE

CPU 内存 硬盘 带宽/月流量 价格 购买
1核 1G 10G NVME 100Mbps/2T 88元/月 链接
1核 1G 20G NVME 150Mbps/4T 129元/月 链接
2核 2G 40G NVME 200Mbps/6T 299元/月 链接
4核 4G 80G NVME 300Mbps/10T 599元/月 链接
2核 2G 40G NVME 100Mbps/不限 899元/月 链接
4核 4G 80G NVME 200Mbps/不限 1899元/月 链接
1核 1G 10G NVME 100Mbps/1T 699元/年 链接

3、基本参数

CPU E5-2682 v4 @ 2.50GHz,磁盘io当前测试 672.3 MB/s,上游AS9908 HK Cable TV Ltd,不支持IPv6

4、IP测试

流媒体:

流媒体:

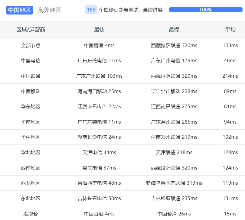
IP质量测试:

5、网络测试

Speedtest:

网络质量:

iperf3 Network Speed Tests (IPv4):

复制复制复制复制复制复制复制复制
复制
iperf3 Network Speed Tests (IPv4):
---------------------------------
Provider        | Location (Link)           | Send Speed      | Recv Speed      | Ping           
-----           | -----                     | ----            | ----            | ----           
Clouvider       | London, UK (10G)          | busy            | 38.4 Mbits/sec  | 216 ms         
Eranium         | Amsterdam, NL (100G)      | 225 Mbits/sec   | 29.2 Mbits/sec  | 251 ms         
Uztelecom       | Tashkent, UZ (10G)        | 262 Mbits/sec   | 153 Mbits/sec   | 123 ms         
Leaseweb        | Singapore, SG (10G)       | 277 Mbits/sec   | 94.1 Mbits/sec  | 42.4 ms        
Clouvider       | Los Angeles, CA, US (10G) | 211 Mbits/sec   | 36.9 Mbits/sec  | 164 ms         
Leaseweb        | NYC, NY, US (10G)         | 240 Mbits/sec   | 40.6 Mbits/sec  | 205 ms         
Edgoo           | Sao Paulo, BR (1G)        | busy            | 25.5 Mbits/sec  | 320 ms

ping检测:

6、路由

电信回程:

北京电信:绕美走cogent从美西圣何塞回国。

上海电信:CTG+CN2直连回内地

深圳电信:走联通169回内地

复制复制复制复制复制复制复制
复制
北京电信
NextTrace v1.5.0 2025-11-28T02:24:32Z 82cebb7
[NextTrace API] preferred API IP - 104.26.12.151 - 51.33ms - Misaka.HKG
IP Geo Data Provider: LeoMoeAPI
traceroute to 219.141.147.210, 30 hops max, 52 bytes payload, ICMP mode
1   *
2   *
3   192.168.64.64   *                         RFC1918          
                                              1.71 ms / 1.64 ms / 1.85 ms
4   192.168.64.30   *                         RFC1918          
                                              2.90 ms / 2.60 ms / 2.68 ms
5   154.18.9.105    AS174    [COGENT-BONE]    中国 香港   cogentco.com 
                                              3.66 ms / 3.63 ms / 3.95 ms
6   154.54.0.5      AS174    [COGENT-BONE]    美国 加利福尼亚 洛杉矶  cogentco.com 
    be2327.ccr41.lax01.atlas.cogentco.com     151.50 ms / 151.19 ms / 151.03 ms
7   154.54.40.157   AS174    [COGENT-BONE]    美国 加利福尼亚 圣何塞  cogentco.com 
                                              164.56 ms / 163.19 ms / 163.73 ms
8   154.54.169.38   AS174    [COGENT-BONE]    美国 加利福尼亚 圣何塞  cogentco.com 
                                              156.69 ms / 156.09 ms / 155.92 ms
9   38.104.138.106  AS174                     美国 加利福尼亚 圣克拉拉  cogentco.com 
                                              256.47 ms / 218.47 ms / 178.75 ms
10  *
11  202.97.12.53    AS4134   [CHINANET-BB]    中国 北京   chinatelecom.com.cn  电信
                                              195.35 ms / 200.68 ms / 195.38 ms
12  202.97.34.73    AS4134   [CHINANET-BB]    中国 北京   chinatelecom.com.cn  电信
                                              197.32 ms / * ms / * ms
13  *
14  106.120.254.2   AS4847   [CHINANET-GD]    中国 北京   bj.189.cn 
                                              199.41 ms / 199.37 ms / * ms
15  219.141.147.210 AS4847   [CHINATELECOM-BJ] 中国 北京   bj.189.cn 
                                              199.76 ms / 200.11 ms / 199.98 ms
----------------------------------------------------------------------
上海电信
NextTrace v1.5.0 2025-11-28T02:24:32Z 82cebb7
[NextTrace API] preferred API IP - 172.67.69.163 - 51.21ms - Misaka.HKG
IP Geo Data Provider: LeoMoeAPI
traceroute to 202.96.209.133, 30 hops max, 52 bytes payload, ICMP mode
1   *
2   *
3   192.168.64.64   *                         RFC1918          
                                              1.59 ms / 1.67 ms / 20.53 ms
4   192.168.64.34   *                         RFC1918          
                                              2.77 ms / 2.53 ms / 2.77 ms
5   218.213.65.69   AS9293                    中国 香港   hello.global.ntt 
                                              3.45 ms / 3.29 ms / 3.35 ms
6   121.59.101.29   *        [CN2-BB]         中国 香港         
                                              3.88 ms / 3.87 ms / 3.91 ms
7   *
8   69.194.166.117  *                         中国 香港   电信/CTGNet
                                              4.73 ms / 4.64 ms / * ms
9   *
10  59.43.245.69    *        [CN2-BackBone]   中国 上海  CN2163 chinatelecom.cn  电信
                                              36.61 ms / 28.91 ms / * ms
11  202.97.90.30    AS4134   [CHINANET-BB]    中国 上海  I-C chinatelecom.com.cn  电信
                                              29.39 ms / 29.61 ms / * ms
12  202.97.50.141   AS4134   [CHINANET-BB]    中国 上海   chinatelecom.com.cn  电信
                                              45.41 ms / 45.11 ms / 42.21 ms
13  *
14  180.169.255.122 AS4812   [CHINANET-SH]    中国 上海   chinatelecom.cn  电信
                                              104.31 ms / 54.44 ms / * ms
15  202.96.209.133  AS4812   [CHINANET-SH]    中国 上海   chinatelecom.cn  电信
                                              41.10 ms / 41.26 ms / 41.16 ms
----------------------------------------------------------------------
深圳电信
NextTrace v1.5.0 2025-11-28T02:24:32Z 82cebb7
[NextTrace API] preferred API IP - 104.26.13.151 - 47.14ms - Misaka.HKG
IP Geo Data Provider: LeoMoeAPI
traceroute to 58.60.188.222, 30 hops max, 52 bytes payload, ICMP mode
1   *
2   10.254.8.2      *                         RFC1918          
                                              1.53 ms / * ms / * ms
3   192.168.64.64   *                         RFC1918          
                                              1.76 ms / 1.68 ms / 1.56 ms
4   192.168.64.34   *                         RFC1918          
                                              2.69 ms / 2.49 ms / 2.56 ms
5   218.213.65.69   AS9293                    中国 香港   hello.global.ntt 
                                              4.06 ms / 3.51 ms / 3.18 ms
6   219.158.38.201  AS4837   [CU169-BACKBONE] 中国 香港   chinaunicom.cn 
                                              257.69 ms / 257.08 ms / * ms
7   *
8   219.158.103.37  AS4837   [CU169-BACKBONE] 中国 广东 广州  chinaunicom.cn  联通
                                              265.27 ms / * ms / * ms
9   *
10  *
11  *
12  *
13  *
14  *
15  *
16  *
17  *
18  *
19  *
20  *
21  *
22  *
23  *
24  *
25  *
26  *
27  *
28  *
29  *

联通回程:联通169直连内地~

复制复制复制复制复制复制
复制
北京联通
NextTrace v1.5.0 2025-11-28T02:24:32Z 82cebb7
[NextTrace API] preferred API IP - 172.67.69.163 - 41.45ms - Misaka.HKG
IP Geo Data Provider: LeoMoeAPI
traceroute to 202.106.50.1, 30 hops max, 52 bytes payload, ICMP mode
1   *
2   10.254.8.2      *                         RFC1918          
                                              5.62 ms / 1.57 ms / 1.39 ms
3   192.168.64.64   *                         RFC1918          
                                              1.54 ms / 1.63 ms / 1.53 ms
4   192.168.64.30   *                         RFC1918          
                                              2.87 ms / 2.56 ms / 2.46 ms
5   218.213.64.69   AS9293                    中国 香港   hello.global.ntt 
                                              3.47 ms / 3.43 ms / 3.52 ms
6   219.158.38.201  AS4837   [CU169-BACKBONE] 中国 香港   chinaunicom.cn 
                                              255.38 ms / * ms / * ms
7   219.158.3.189   AS4837   [CU169-BACKBONE] 中国 广东 广州  chinaunicom.cn 
                                              262.87 ms / * ms / * ms
8   219.158.4.37    AS4837   [CU169-BACKBONE] 中国 广东 广州 X-I chinaunicom.cn  联通
                                              258.98 ms / * ms / * ms
9   *
10  *
11  *
12  202.106.50.1    AS4808   [UNICOM-BJ]      中国 北京  丰台区 www.bbn.com.cn  联通
                                              293.67 ms / 291.34 ms / 286.99 ms
----------------------------------------------------------------------
上海联通
NextTrace v1.5.0 2025-11-28T02:24:32Z 82cebb7
[NextTrace API] preferred API IP - 104.26.13.151 - 45.86ms - Misaka.HKG
IP Geo Data Provider: LeoMoeAPI
traceroute to 210.22.97.1, 30 hops max, 52 bytes payload, ICMP mode
1   *
2   10.254.8.2      *                         RFC1918          
                                              1.58 ms / 4.12 ms / 1.40 ms
3   192.168.64.64   *                         RFC1918          
                                              2.36 ms / 3.58 ms / 1.58 ms
4   192.168.64.30   *                         RFC1918          
                                              2.68 ms / 2.65 ms / 3.07 ms
5   218.213.64.69   AS9293                    中国 香港   hello.global.ntt 
                                              3.55 ms / 3.57 ms / * ms
6   219.158.33.9    AS4837   [CU169-BACKBONE] 中国 北京   chinaunicom.cn 
                                              5.26 ms / 5.59 ms / 5.25 ms
7   219.158.6.121   AS4837   [CU169-BACKBONE] 中国 广东 广州  chinaunicom.cn 
                                              105.44 ms / 101.10 ms / * ms
8   219.158.4.101   AS4837   [CU169-BACKBONE] 中国 广东 广州 X-I chinaunicom.cn  联通
                                              266.08 ms / 263.47 ms / * ms
9   *
10  *
11  *
12  112.64.250.202  AS17621  [APNIC-AP]       中国 上海   chinaunicom.cn  联通
                                              283.68 ms / 272.06 ms / * ms
13  210.22.97.1     AS17621  [CNCNET-SH]      中国 上海  闵行区 chinaunicom.cn  联通
                                              282.19 ms / 273.49 ms / 270.04 ms
----------------------------------------------------------------------
深圳联通
NextTrace v1.5.0 2025-11-28T02:24:32Z 82cebb7
[NextTrace API] preferred API IP - 172.67.69.163 - 44.45ms - Misaka.HKG
IP Geo Data Provider: LeoMoeAPI
traceroute to 210.21.196.6, 30 hops max, 52 bytes payload, ICMP mode
1   10.242.248.189  *                         RFC1918          
                                              16.73 ms / 5.92 ms / 5.02 ms
2   *
3   192.168.64.64   *                         RFC1918          
                                              20.01 ms / 20.88 ms / 1.79 ms
4   192.168.64.30   *                         RFC1918          
                                              2.33 ms / 2.59 ms / 2.49 ms
5   218.213.64.69   AS9293                    中国 香港   hello.global.ntt 
                                              3.39 ms / 3.34 ms / 3.31 ms
6   219.158.38.201  AS4837   [CU169-BACKBONE] 中国 香港   chinaunicom.cn 
                                              255.62 ms / 257.14 ms / * ms
7   219.158.3.209   AS4837   [CU169-BACKBONE] 中国 广东 广州  chinaunicom.cn 
                                              258.16 ms / 258.96 ms / * ms
8   219.158.24.137  AS4837   [CU169-BACKBONE] 中国 广东 广州 X-I chinaunicom.cn  联通
                                              252.72 ms / * ms / * ms
9   *
10  *
11  120.80.147.254  AS17623  [APNIC-AP]       中国 广东 深圳  chinaunicom.cn  联通
                                              105.78 ms / 104.91 ms / 106.54 ms
12  210.21.196.6    AS17623                   中国 广东 深圳 宝安区 chinaunicom.cn  联通
                                              110.04 ms / 102.32 ms / 101.36 ms

移动回程:

北京移动cmi直连内地

上海移动:绕美走cogent从美西回国。

深圳移动绕欧洲最后从英国走移动cmi回国。

复制复制复制复制复制
复制
北京移动
NextTrace v1.5.0 2025-11-28T02:24:32Z 82cebb7
[NextTrace API] preferred API IP - 172.67.69.163 - 44.11ms - Misaka.HKG
IP Geo Data Provider: LeoMoeAPI
traceroute to 221.179.155.161, 30 hops max, 52 bytes payload, ICMP mode
1   *
2   10.254.8.2      *                         RFC1918          
                                              1.55 ms / * ms / * ms
3   192.168.64.64   *                         RFC1918          
                                              1.52 ms / 1.49 ms / 1.50 ms
4   192.168.64.34   *                         RFC1918          
                                              2.40 ms / 2.08 ms / 2.12 ms
5   180.87.160.194  AS6453   [TATA-COMMUNICATIONS] 中国 香港   tatacommunications.com 
                                              2.30 ms / 2.04 ms / 2.09 ms
6   180.87.162.194  AS6453   [TATA-COMMUNICATIONS] 中国 香港   tatacommunications.com 
                                              2.77 ms / 3.28 ms / 3.39 ms
    [MPLS: Lbl 85464, TC 0, S 1, TTL 1]
7   180.87.162.27   AS6453   [TATA-COMMUNICATIONS] 中国 香港   tatacommunications.com 
                                              4.33 ms / 3.91 ms / * ms
    [MPLS: Lbl 0, TC 0, S 1, TTL 1]
8   *
9   223.120.2.117   AS58453  [CMI-INT]        中国 香港   cmi.chinamobile.com  移动
                                              4.34 ms / * ms / * ms
10  223.120.22.142  AS58453  [CMI-INT]        中国 香港   cmi.chinamobile.com  移动
                                              40.96 ms / 41.10 ms / 41.03 ms
11  221.183.55.110  AS9808   [CMNET]          中国 北京  X-I chinamobileltd.com  移动
                                              38.54 ms / 38.51 ms / 38.44 ms
12  221.183.25.201  AS9808   [CMNET]          中国 北京  I-C chinamobileltd.com  移动
                                              48.62 ms / * ms / * ms
13  *
14  221.183.46.174  AS9808   [CMNET]          中国 北京   chinamobileltd.com  移动
                                              49.99 ms / 49.82 ms / 50.00 ms
15  221.183.130.134 AS9808   [CMNET]          中国 北京   chinamobileltd.com  移动
                                              49.59 ms / 49.74 ms / 49.72 ms
16  221.179.155.161 AS56048  [CMNET]          中国 北京   bj.10086.cn  移动
                                              43.76 ms / 43.90 ms / * ms
----------------------------------------------------------------------
上海移动
NextTrace v1.5.0 2025-11-28T02:24:32Z 82cebb7
[NextTrace API] preferred API IP - 104.26.13.151 - 45.14ms - Misaka.HKG
IP Geo Data Provider: LeoMoeAPI
traceroute to 211.136.112.200, 30 hops max, 52 bytes payload, ICMP mode
1   *
2   10.254.8.2      *                         RFC1918          
                                              1.51 ms / 1.65 ms / 1.64 ms
3   192.168.64.64   *                         RFC1918          
                                              1.54 ms / 1.53 ms / 1.52 ms
4   192.168.64.30   *                         RFC1918          
                                              2.83 ms / 2.67 ms / 2.55 ms
5   154.18.9.105    AS174    [COGENT-BONE]    中国 香港   cogentco.com 
                                              4.17 ms / 6.05 ms / 3.72 ms
6   154.54.0.5      AS174    [COGENT-BONE]    美国 加利福尼亚 洛杉矶  cogentco.com 
    be2327.ccr41.lax01.atlas.cogentco.com     153.48 ms / 153.77 ms / 152.94 ms
7   154.54.40.157   AS174    [COGENT-BONE]    美国 加利福尼亚 圣何塞  cogentco.com 
                                              200.14 ms / 164.34 ms / 163.98 ms
8   154.54.169.38   AS174    [COGENT-BONE]    美国 加利福尼亚 圣何塞  cogentco.com 
                                              157.39 ms / 156.53 ms / 156.05 ms
9   154.54.7.22     AS174    [COGENT-BONE]    美国 加利福尼亚 圣何塞  cogentco.com 
                                              162.72 ms / 163.31 ms / 162.65 ms
10  38.88.224.162   AS174                     美国 加利福尼亚 帕洛阿尔托 / 圣何塞  cogentco.com 
                                              183.31 ms / 183.05 ms / 187.70 ms
11  223.120.6.69    AS58453  [CMI-INT]        美国 加利福尼亚 圣何塞  cmi.chinamobile.com  移动
                                              183.15 ms / 187.70 ms / 188.28 ms
12  223.120.12.26   AS58453  [CMI-INT]        美国 加利福尼亚 圣何塞  cmi.chinamobile.com  移动
                                              210.21 ms / 226.13 ms / 211.16 ms
13  221.183.89.174  AS9808   [CMNET]          中国 上海  X-I chinamobileltd.com  移动
                                              212.87 ms / 217.45 ms / * ms
14  *
15  221.183.89.46   AS9808   [CMNET]          中国 上海   chinamobileltd.com  移动
                                              228.87 ms / * ms / * ms
16  *
17  *
18  211.136.112.252 AS24400  [CMNET]          中国 上海   sh.10086.cn  移动
                                              229.79 ms / 228.07 ms / 223.78 ms
19  211.136.112.200 AS24400  [CMNET]          中国 上海  浦东新区 sh.10086.cn  移动
                                              229.11 ms / 224.76 ms / 224.45 ms
----------------------------------------------------------------------
深圳移动
NextTrace v1.5.0 2025-11-28T02:24:32Z 82cebb7
[NextTrace API] preferred API IP - 172.67.69.163 - 45.84ms - Misaka.HKG
IP Geo Data Provider: LeoMoeAPI
traceroute to 120.196.165.24, 30 hops max, 52 bytes payload, ICMP mode
1   *
2   *
3   192.168.64.64   *                         RFC1918          
                                              1.54 ms / 1.59 ms / 1.77 ms
4   192.168.64.30   *                         RFC1918          
                                              3.02 ms / 3.15 ms / 2.65 ms
5   154.18.9.105    AS174    [COGENT-BONE]    中国 香港   cogentco.com 
                                              6.24 ms / 4.05 ms / 3.70 ms
6   154.54.0.41     AS174    [COGENT-BONE]    法国 普罗旺斯-阿尔卑斯-蓝色海岸大区 马赛  cogentco.com 
    be2899.ccr31.mrs02.atlas.cogentco.com     171.28 ms / 170.99 ms / 170.99 ms
7   154.54.72.109   AS174    [COGENT-BONE]    法国 法兰西岛大区 巴黎  cogentco.com 
    be2779.ccr41.par01.atlas.cogentco.com     176.37 ms / 176.50 ms / 176.43 ms
8   154.54.75.42    AS174    [COGENT-BONE]    英国 英格兰 斯劳  cogentco.com 
                                              186.21 ms / 186.00 ms / 185.90 ms
9   154.54.73.241   AS174    [COGENT-BONE]    英国 英格兰 斯劳  cogentco.com 
                                              186.02 ms / 186.05 ms / 185.94 ms
10  149.14.199.194  AS174    [COGENT-149]     英国 伯克郡 斯劳 Cogent-CMI-Peer cogentco.com 
                                              168.20 ms / 168.17 ms / 168.28 ms
11  223.120.10.197  AS58453  [CMI-INT]        英国 伯克郡 斯劳  cmi.chinamobile.com  移动
                                              168.18 ms / 168.17 ms / 168.06 ms
12  223.120.15.54   AS58453  [CMI-INT]        英国 英格兰 伦敦  cmi.chinamobile.com  移动
                                              190.83 ms / 190.62 ms / 189.85 ms
13  221.183.55.58   AS9808   [CMNET]          中国 广东 广州 X-I chinamobileltd.com  移动
                                              189.69 ms / 189.93 ms / * ms
14  221.183.92.21   AS9808   [CMNET]          中国 广东 广州 I-C chinamobileltd.com  移动
                                              188.96 ms / 188.92 ms / 188.99 ms
15  221.183.89.246  AS9808   [CMNET]          中国 广东 广州  chinamobileltd.com  移动
                                              190.95 ms / 190.89 ms / * ms
16  221.183.71.82   AS9808   [CMNET]          中国 广东 广州  chinamobileltd.com  移动
                                              190.98 ms / 190.91 ms / 190.93 ms
17  221.183.110.170 AS9808   [CMNET]          中国 广东 广州  chinamobileltd.com  移动
                                              193.73 ms / * ms / * ms
18  120.196.165.24  AS56040  [APNIC-AP]       中国 广东 深圳  gd.10086.cn  移动
                                              196.65 ms / 196.76 ms / 196.74 ms

电信去程:电信cn2线路直连香港

联通去程:联通169直连香港~

移动去程:移动cmi直连香港

 

7、性能

Geekbench 5 测试结果

复制复制复制复制
复制
Geekbench 5 测试结果

系统信息
  Operating System              Debian GNU/Linux 11 (bullseye)
  Kernel                        Linux 5.10.0-11-cloud-amd64 x86_64
  Model                         QEMU Standard PC (i440FX + PIIX, 1996)
  Motherboard                   N/A
  BIOS                          SeaBIOS rel-1.14.0-0-g155821a1990b-prebuilt.qemu.org

处理器信息
  Name                          Intel(R) Xeon(R) CPU E5-2682 v4 @ 2.50GHz
  Topology                      1 Processor, 4 Cores
  Identifier                    GenuineIntel Family 6 Model 79 Stepping 1
  Base Frequency                2.49 GHz
  L1 Instruction Cache          32.0 KB x 2
  L1 Data Cache                 32.0 KB x 2
  L2 Cache                      256 KB x 2
  L3 Cache                      40.0 MB

内存信息
  Size                          3.84 GB

单核测试分数:805
多核测试分数:3001

CPU测试等:

复制复制复制
复制
------------------------CPU测试--通过sysbench测试-------------------------
 -> CPU 测试中 (Fast Mode, 1-Pass @ 5sec)
 1 线程测试(单核)得分:          933 Scores
 4 线程测试(多核)得分:          3715 Scores
--------------------内存测试--感谢lemonbench开源----------------------------
 -> 内存测试 Test (Fast Mode, 1-Pass @ 5sec)
 单线程读测试:          19567.57 MB/s
 单线程写测试:          13414.76 MB/s
--------------------磁盘dd读写测试--感谢lemonbench开源--------------------
 -> 磁盘IO测试中 (4K Block/1M Block, Direct Mode)
 测试操作               写速度                                  读速度
 100MB-4K Block         62.8 MB/s (15.33 IOPS, 1.67s))          81.3 MB/s (19859 IOPS, 1.29s)
 1GB-1M Block           932 MB/s (889 IOPS, 1.12s)              3.4 GB/s (3201 IOPS, 0.31s)
----------------------磁盘fio读写测试--感谢yabs开源-----------------------
Block Size | 4k            (IOPS) | 64k           (IOPS)
  ------   | ---            ----  | ----           ---- 
Read       | 168.58 MB/s  (42.1k) | 1.65 GB/s    (25.7k)
Write      | 169.03 MB/s  (42.2k) | 1.65 GB/s    (25.9k)
Total      | 337.62 MB/s  (84.4k) | 3.31 GB/s    (51.7k)
           |                      |                     
Block Size | 512k          (IOPS) | 1m            (IOPS)
  ------   | ---            ----  | ----           ---- 
Read       | 1.65 GB/s     (3.2k) | 1.65 GB/s     (1.6k)
Write      | 1.74 GB/s     (3.4k) | 1.77 GB/s     (1.7k)
Total      | 3.40 GB/s     (6.6k) | 3.42 GB/s     (3.3k)

 

 

8、最后

IP为上游AS9908 HK Cable TV Ltd也就是香港有线宽屏iCable提供,IP纯净度很好,具有双ISP属性,解锁能力也很强。

网络情况:非优化线路,路由挺乱,三网部分地区均有直连,但是也有绕欧美走国际线路回国的情况,电信甚至有CN2线路。

复制复制
复制
五、三网回程路由(线路可能随网络负载动态变化)
北京TCP:电信   NoData->CN2    || 联通   AS9293->4837   || 移动     TATA->CMI   
北京UDP:电信   NoData->CN2    || 联通   AS9293->4837   || 移动     TATA->CMI   
上海TCP:电信   NoData->NoData || 联通   AS9293->4837   || 移动     TATA->CMI   
上海UDP:电信   NoData->CN2    || 联通   AS9293->4837   || 移动     TATA->CMI   
广州TCP:电信   Cogent->163    || 联通   AS9293->4837   || 移动   Cogent->CMI   
广州UDP:电信   Cogent->163    || 联通   AS9293->4837   || 移动   Cogent->CMI

【AD】DMIT:补货洛杉矶三网CN2 GIA和三网CMIN2套餐,$36.9/年起,1核/1G内存/ 20G SSD/500Mbps@500GB

【AD】美国洛杉矶/香港/日本VPS推荐,回程电信CN2 GIA线路,延迟低、稳定性高、免费备份_搬瓦工